ChangeIP VPS Review: 25% Off, Sharktech Direct Connection, and DDoS Protection
ChangeIP is a budget VPS brand directly owned by Sharktech, offering prices significantly lower than purchasing directly from the Sharktech website. In earlier articles, we introduced another Sharktech VPS service: Rectified. However, after Sharktech acquired and merged ChangeIP with Rectified, the Rectified brand no longer exists.

Important Notes
They say important notes should be placed at the beginning, so here they are:
- Do not use a proxy when registering an account.
- Do not provide false information.
- The email used for registration should ideally match your PayPal email.
- Ensure consistency between IP, country, and phone number (all from the same country).
Payment Methods
- Alipay
- PayPal
- Credit Card
Discount Codes
- 25% off VPS: zhujiceping
- 20% off KVM SSD VPS, cPanel Shared Hosting, or VPN Tunnel: FLAT20OFF
Purchase Links
Below are the new VPS packages, which are relatively cheaper but have traffic limits (with DDoS protection).
| Memory | CPU | SSD | Traffic | Price | Purchase |
|---|---|---|---|---|---|
| 512M | 1 Core | 20G | 0.5T | $24/year | Link |
| 1G | 1 Core | 25G | 1.0T | $34/year | Link |
| 2G | 1 Core | 40G | 2.0T | $67/year | Link |
| 4G | 2 Core | 60G | 3.0T | $137/year | Link |
| 8G | 4 Core | 100G | 4.0T | $274/year | Link |
| 16G | 6 Core | 200G | 5.0T | $534/year | Link |
Below are the older VPS packages, which offer unlimited traffic (with DDoS protection).
| Memory | CPU | SSD | Price | Purchase |
|---|---|---|---|---|
| 256M | 1 Core | 5G | $17/year | Link |
| 512M | 1 Core | 20G | $33/year | Link |
| 1G | 1 Core | 30G | $52/year | Link |
| 2G | 2 Core | 40G | $187/year | Link |
| 4G | 2 Core | 50G | $337/year | Link |
| 8G | 4 Core | 70G | $637/year | Link |
| 18G | 4 Core | 130G | $1237/year | Link |
VPS Review
I purchased a Los Angeles VPS with 1 Core, 512M RAM, and 20G SSD for a simple review to help potential buyers.
Disk I/O
The bench.sh I/O test showed an average read/write speed of 147.4 MB/s. However, multiple tests indicated instability; speeds occasionally reached over 200 MB/s, possibly due to neighbor activity.
----------------------------------------------------------------------
CPU model : QEMU Virtual CPU version (cpu64-rhel6)
Number of cores : 1
CPU frequency : 2599.998 MHz
Total size of Disk : 20.0 GB (1.7 GB Used)
Total amount of Mem : 481 MB (74 MB Used)
Total amount of Swap : 511 MB (0 MB Used)
System uptime : 0 days, 2 hour 34 min
Load average : 0.00, 0.00, 0.00
OS : CentOS 7.6.1810
Arch : x86_64 (64 Bit)
Kernel : 5.1.5-1.el7.elrepo.x86_64
----------------------------------------------------------------------
I/O speed(1st run) : 71.3 MB/s
I/O speed(2nd run) : 173 MB/s
I/O speed(3rd run) : 198 MB/s
Average I/O speed : 147.4 MB/s
----------------------------------------------------------------------
Download Speed
As described in the package details, the bandwidth is 100Mbps. The download speed tests confirm it can fully utilize this bandwidth.
----------------------------------------------------------------------
Node Name IPv4 address Download Speed
CacheFly 205.234.175.175 11.7MB/s
Linode, Tokyo, JP 106.187.96.148 10.7MB/s
Linode, Singapore, SG 139.162.23.4 7.73MB/s
Linode, London, UK 176.58.107.39 11.0MB/s
Linode, Frankfurt, DE 139.162.130.8 10.2MB/s
Linode, Fremont, CA 50.116.14.9 11.2MB/s
Softlayer, Dallas, TX 173.192.68.18 11.8MB/s
Softlayer, Seattle, WA 67.228.112.250 11.6MB/s
Softlayer, Frankfurt, DE 159.122.69.4 7.59MB/s
Softlayer, Singapore, SG 119.81.28.170 6.70MB/s
Softlayer, HongKong, CN 119.81.130.170 7.08MB/s
----------------------------------------------------------------------
Ping Test
Super Ping test for China showed an average latency of 202.8ms.

Sichuan Telecom ping test showed 0% packet loss with an average latency of 197ms. West Coast US servers generally have latencies around 200ms.

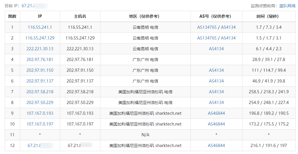
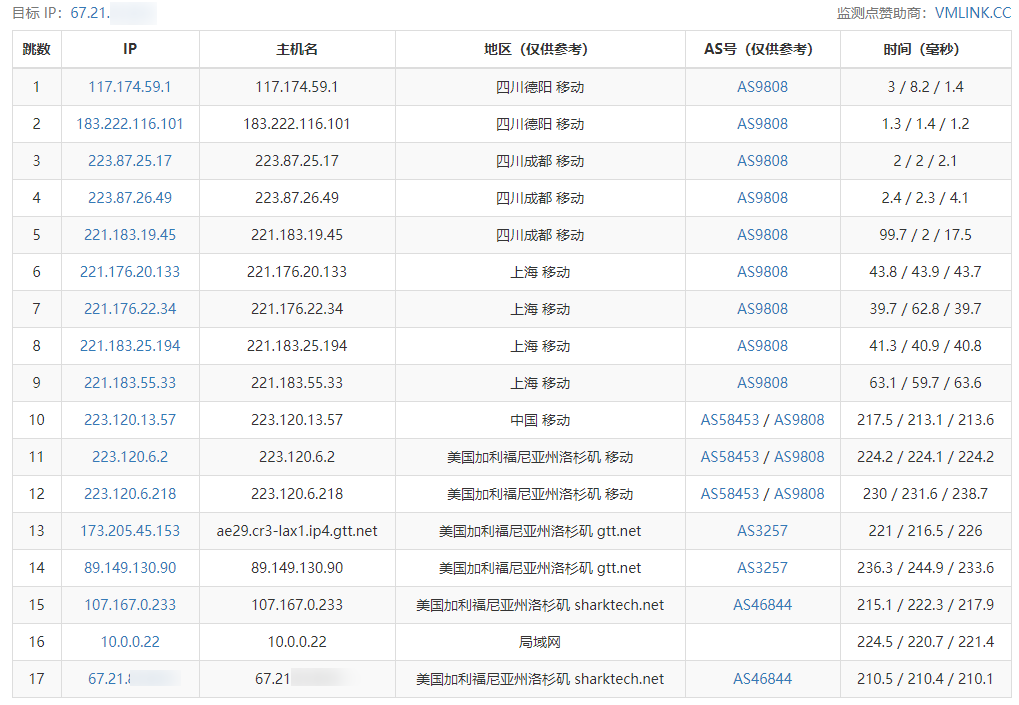
Route Tracing
Next is the route tracing test, which shows direct connections for China Telecom, China Unicom, and China Mobile.
Yunnan Kunming Telecom Route Trace

Tianjin Unicom Route Trace

Sichuan Deyang Mobile Route Trace

Conclusion
ChangeIP VPS offers unlimited traffic packages, making it suitable for building CDNs or proxy services. Regarding stability, online reviews are mixed. Since I have only recently started using ChangeIP, stability requires long-term observation, and I will update this review after using it for a while.
- ChangeIP Official Website: https://www.changeip.com/
- 25% Off Code: zhujiceping
- 20% Off Code: FLAT20OFF